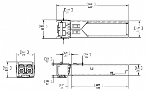
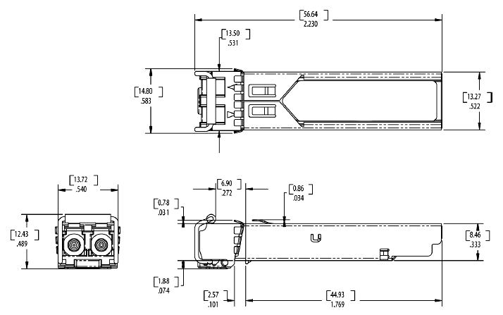
SFP+ Transceivers – 8 Gbps

The OPTOKON transceivers are compliant with IEEE 802.3ae and the SFP+ MSA. This upgrade, and reliability benefits by virtue of being hot-pluggable, also is designed for single-mode and multimode fiber with cost effective and high performance.

OPTOKON is always trying to satisfy as much market demand as possible and with this in mind, almost all OPTOKON SFP transceivers are manufactured in the Commercial, Extended and Industrial temperature ranges to provide you all possibilities you need for your application.

Safety and regulatory compliance:

Electrostatic discharge (ESD) 
Electromagnetic Interference (EMI) 
Laser Eye Safety 
Component Recognition 
RoHS 
EMC 
Fiber Channel 

IEC/EN 61000-4-2
FCC Part 15 Class B EN 55022
Class B (CISPR 22A)
Class 1 laser product
IEC/EN 60950, UL
2002/95/EC
EN 61000-3
FC-PI-4 800-SM-LC-L
 

 

Unit

SR

LR02

LR

ER

ZR

Average output power (min / max)

dBm

-6 / -1

-8 / -1

-6 / -0.5

-1 / +3

0 / +4

Receiver sensitivity

dBm

-10

-10

-14.4

-16

-23

Overload

dBm

0.5

0

0.5

0.5

-6

Maximum distance

km

0.300

2

10

40

80

Fiber type

-

MMF

SMF

SMF

SMF

SMF

Optical link budget

dBm

4

2

8.4

15

23

Wavelength / laser type

nm

850/VCSEL

1310/FP

1310/DFB

1550/EML

1550/EML

Table 1: Basic technical specifications according to distance

  • Multi-rate 8x / 4x / 2x Fiber Channel
  • Supports 8.5 Gbps bit rates
OPTOKON ChatBot